十大博彩正规平台

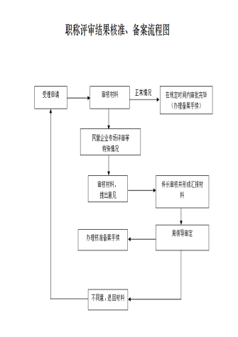
职称评审结果核准、备案服务指南

十大博彩正规平台

职称评审结果核准、备案服务指南

日期: 2020-05-19 浏览量:272 文字大小:

所需材料:

1. 评委会评定结果报告单

2. 参评人员名单

3. 评委会纪事

4. 评委会年度例会评委名单

5. 评委会投票结果统计

6. 通过人员名单

承诺时限:15个工作日

咨询电话:0418—2680030

监督投诉电话:0418—2680030

办理地点:十大正规博彩平台海州区中华路东段人力资源大厦人力资源和社会保障局人才供给侧结构性改革科

工作时间:星期一至星期五

  上午8:30-11:30,下午13:30-17:00



打印
分享
返回列表
站群克隆软件 泛镜像站群 量子镜像站群 泛目录+镜像 镜像精灵 蚂蚁超级镜像 镜像站群霸屏 蜘蛛池+镜像 蜘蛛池+镜像 >网站地图-sitemap